第四章 AI时代:人类将如何变革?(第10/27页)
2012年,谷歌自动驾驶汽车已经取得了超过30万英里的公路行驶经验。基于雷克萨斯RX450h改装的自动驾驶汽车也已上路运行。也正是在这一年,谷歌将自动驾驶汽车的路面测试范围,从简单的园区路况和普通高速路况,扩展到了包含复杂交通环境的城区路况。截止到2016年,谷歌自动驾驶汽车的实际测试里程已经超过200万英里。
2014年,一辆崭新的、长着可爱的卡通版身躯的谷歌无人驾驶汽车在著名的谷歌X实验室问世。这辆汽车除了萌萌的造型之外,最大的与众不同之处在于,这是一辆完全不需要人工干预的自动驾驶汽车,它没有方向盘,没有油门,没有刹车踏板!乘客只要上车,说出自己要抵达的目的地,就可以享受世界上第一辆完全意义上的“无人驾驶”汽车的周到服务了。

图41 在实际路面上进行测试的谷歌新一代无人驾驶汽车(CC BY-SA 4.0,Wikipedia)
应当说,在人工智能大发展的时代里,谷歌在自动驾驶领域最早投入研发力量,最早获得技术突破,在过去的数年间完成了累计里程最长的高级别无人驾驶道路测试。但对普通人来说,谷歌的无人驾驶汽车虽已是硅谷道路上的常客,但其商业模式却一直滞后,基本上停留在市场宣传层面,面向最终消费者的销售遥遥无期。这主要是因为谷歌对于自动驾驶技术的高度谨慎。
2016年5月7日,发生在佛罗里达州的特斯拉电动汽车致死事故,其中的原因之一就是车主过度信任特斯拉汽车的Autopilot模式(其实这一模式在当时是不折不扣的“辅助驾驶”,而不是“自动驾驶”),对突发情况没有做出及时的人工干预。而谷歌认为,要保证自动驾驶的绝对安全,就一定不能依赖于人的参与,必须让自动驾驶汽车的人工智能技术能够应对所有(至少是极其接近100%的)极端路况,否则,就无法销售尚有风险的汽车产品。
因为对100%自动驾驶的高标准追求,谷歌的自动驾驶汽车研发和商业化之路无法在短期内获得收益。就在谷歌不懈追求最高水准的自动驾驶系统的同时,特斯拉、优步、百度、苹果、英伟达(NVIDIA)等高科技公司纷纷加入自动驾驶研发的阵营,并大多采用从与谷歌不同的角度切入市场,如关注辅助驾驶的特斯拉、关注汽车资源共享的优步、关注自动驾驶计算平台的英伟达等。传统汽车厂商如通用、奔驰、宝马、丰田等也陆续调整自己的技术战略,跟上最新的无人驾驶风潮。初创公司如以色列的Mobileye、Oryx Vision,美国的Nu Tonomy、Zoox、Drive.ai、Nuro.ai,国内的驭势科技(UISEE)、初速度科技(Momenta)等,则瞄准了整个自动驾驶产业链中的特定应用场景(如小区通勤、卡车运输等),特定解决方案(如视觉解决方案、地图解决方案等),或特定功能模块(如激光雷达传感器、视觉模块、决策模块、控制模块等),发挥初创公司灵活、高效的特点。
相比之下,谷歌的自动驾驶团队多少有些“拣尽寒枝不肯栖,寂寞沙洲冷”的脱俗意味。追求最佳的安全和行驶体验,迟迟不进行商业化的开发,这让谷歌自动驾驶团队在许多新闻评论中成了“起个大早,赶个晚集”的揶揄对象96。因为产品商业化迟缓,谷歌自动驾驶团队的许多技术人员都已离开谷歌,成为各大科技企业和初创团队中研发自动驾驶技术的领军人物。创始人塞巴斯蒂安·特龙已将精力放在了教育项目优达学城(Udacity)上;团队骨干安东尼·勒万多斯基(Anthony Levandowski)带着自己熟悉的三名同事创立了Otto继续做自动驾驶,这家公司已被优步收购;创始团队CTO克里斯·厄森(Chris Urmson)2016年8月离职;另一名技术专家朱家俊也离职组建了Nuro.ai。
2016年12月,谷歌宣布,自动驾驶团队正式分离出来,成立了一家名叫Waymo的新公司。这一举措也许意味着谷歌自动驾驶汽车正式走向商业化的开始,也许是谷歌为了应对人才流失和市场竞争的无奈之举。无论如何,我们还是更愿意看到谷歌自动驾驶汽车项目继续引领自动驾驶的科技革命,未来能继续代表自动驾驶技术的最高水平。

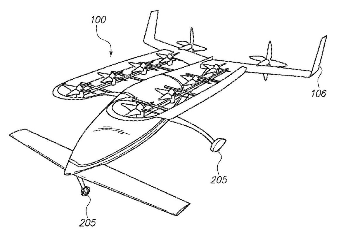
图42 Zee.Aero公司申请的“飞行汽车”专利中的图示97
顺便提一下,除了公路上跑的汽车,包括谷歌创始人拉里·佩奇以及塞巴斯蒂安·特龙本人在内,都在关注甚至投资研发更加科幻级的自动交通工具。据说拉里·佩奇秘密投资了两家神秘的“飞行汽车”初创公司Zee.Aero和Kitty Hawk,而Kitty Hawk正是塞巴斯蒂安·特龙创立的。目前,有关这两家神秘公司的公开资料少之又少,人们只能从一些只言片语,或是已申请专利中一些非常早期的概念图来猜测,这两家公司想做的是像飞机一样在空中自由飞行,又像汽车一样方便乘坐和停放的新一代交通工具。98